Please try again later.

Clueless computer closet.
Cher horowitz from clueless should be your fashion icon.
If she isnt you should at least envy her computer closet that helped her pick out outfits every morning.
This feature is not available right now.
That iconic peice of equipment was famous in and of itself after hte film came out.
Youre like a total spaz if you werent seriously obsessed with chers magical computer organized closet in cluelessits disappointing to think that the film is nearly 20 years old and ikea still hasnt come up with anything remotely similar.
I have over 15 years of experience as a web and graphic designer.
Many claim to be chers closet incarnate but thats a lofty goal.
See which ones come close and which are total monets.
But we bet it wont be long until swivel infiltrates our homes and gives us the clueless closets weve been dreaming of since 1995.
Not only was chers closet painstakingly organized by color season and type of clothing but it was also accompanied with a fancy computer program that helped her choose outfits.
It belonged to cher horowitz and it was as fictitious as her clueless character.
A scene from 1995s clueless i do not claim to own this material at all.
For now the software is intended for use in stores meaning it replaces the traditional dressing room experience with an augmented reality one.
Until now that is.
My background based in washington dc i hold a bachelors degree in computer science from howard university.
Fashion Apps That Are Like The Clueless Movie Computer Program
Fashion Apps That Are Like The Clueless Movie Computer Program
Motorized Closet
Https Encrypted Tbn0 Gstatic Com Images Q Tbn 3aand9gcqrockspzyvtrr1nrxwzqyahcea7brnuqlkdfywra5q0egxcrkt
42 Memorable Clueless Outfits Ranked From Worst To Best Moviefone
Cher S Virtual Reality Closet From Clueless Could Soon Be A
Cher Horowitz S Virtual Closet Is Finally Available Irl
Stylebook Closet App Faq
Closet Tech Closetphile
Wardrobe That Delivers A Dress For You Rotating Closet Can
Memodel With Metail Creates A Clueless Inspired Digital Fitting
Create Outfits With Your Own Clothes Torun Rsd7 Org
The 100 Greatest Props In Movie History And The Stories Behind
Fashion Apps That Are Like The Clueless Movie Computer Program
Digital Closet Startups Want To Give You The Cher Horowitz
Https Encrypted Tbn0 Gstatic Com Images Q Tbn 3aand9gcr2psnlsymvxcl9yqgs8krya8ntc Rdrtbcdthjbonzjmgbjgqc
Meghan Markle S Stylist Wants To Gut Your Wardrobe Resist
10 Most Luxurious Closets In Films And Series Designer Vintage
Cher Horowitz Coveteur
Closet Tech Closetphile
Https Encrypted Tbn0 Gstatic Com Images Q Tbn 3aand9gctgmnkytgb1ykxglhdmptih9 Yhg80oaytzzc0bfwxmuxr0hr93
6 Clueless Worthy Outfit Planning Apps E News
Q7giwgnfbsnn9m
Dress For The Part Clueless Style Blog The Film Experience
How Artificial Intelligence Is Coming For Your Closet Glamour
Now You Can Buy A Robotic Wardrobe That S Basically Cher S Closet
Clueless Ipad Iphone Android Mac Pc Game Big Fish
Fall Trend Yellow Plaid Clueless Outfits Inspired By Cher
I Literally Turned My Closet Into Cher S From Clueless Youtube
Digital Closet
Why Start Ups Keep Trying To Invent The Closet From Clueless
Are These Outfit Planning Apps For Real The Outfit Repeater
Cher S Closet From Clueless Youtube
Https Encrypted Tbn0 Gstatic Com Images Q Tbn 3aand9gctwvcikepzql6uhtpqc8re P5zvv Mdnzdswjtkzasl4x1qwmbg
Https Encrypted Tbn0 Gstatic Com Images Q Tbn 3aand9gcsgbti0wgo2vsbqbg8yxrkuh6z4tc7v 8p0rv3lfxeij8xzoss
Virtual Dressing Room Uses Kinect And Augmented Reality Makes
6 Apps Inspired By Cher S Closet From Clueless That Are As Close
Carrie Bradshaw Closet
Closetspace Brings Fashion Inspiration And Recommendations To Your
Cher S Virtual Clueless Wardrobe Is Now A Reality 20 Years Later
Https Encrypted Tbn0 Gstatic Com Images Q Tbn 3aand9gctheewfjrpeobaovemn2pw49 3oi8tfsnpfiqj7cylrtb1iwzsi
An Honest Review Of The Clueless Closet Like Stylebook App
Cher S Virtual Clueless Wardrobe Is Now A Reality 20 Years Later
Cher Horowitz S High Tech Virtual Closet Was One Of The Best Parts
Clueless Ipad Iphone Android Mac Pc Game Big Fish
Will Digital Closets Have An Impact On The Fashion Industry
Meghan Markle S Stylist Wants To Gut Your Wardrobe Resist
Cher S Outfit Generating Computer Program From Clueless Is Real
15 Best Small Closet Organization Ideas Storage Tip For Small
Dashcam Android Application Qualcomm Developer Network
Https Encrypted Tbn0 Gstatic Com Images Q Tbn 3aand9gcrkdhlyk9ue Cb5txtjhlwzjlddvleay9 Wc9sqwsvyd1ac2s1l
Cher Horowitz S Virtual Closet Is Finally Available Irl
10 Most Luxurious Closets In Films And Series Designer Vintage
Fall Trend Yellow Plaid Clueless Outfits Inspired By Cher
Https Encrypted Tbn0 Gstatic Com Images Q Tbn 3aand9gct5tpplksnk06pkziakjfi8cjhcgh5oawtseylk Qbbbbx2ozxc
You Can Dress Like Cher Horowitz Thanks To These 5 Apps Reb00t
This Smart Closet Will Tell You What S Best To Wear Each Morning
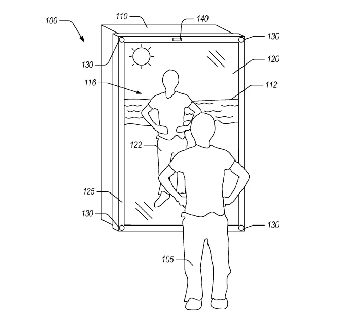
Amazon Patents Virtual Mirror That Can Dress You Like Cher S
Amazon S Echo Look Is Basically Cher Horowitz S Epic Closet System
Transforming My Closet Into A Clueless Closet Youtube
Now You Can Buy A Robotic Wardrobe That S Basically Cher S Closet
6 Clueless Worthy Outfit Planning Apps E News
6 Apps Inspired By Cher S Closet From Clueless That Are As Close
Echo Look Amazon Alexa Closet Styling Tool
6 Clueless Worthy Outfit Planning Apps E News
And Lo How The Internet Was Born Bbc News
Fashion Apps You Should Be Using
Cher Horowitz S Closet From Clueless Gets A Modern Day Makeover
Https Encrypted Tbn0 Gstatic Com Images Q Tbn 3aand9gcstxooewk 8ndj0fb3ma2prfsfsl3aimtgmed1glayy X Nhh25
Closet Tech Closetphile
Virtual Wardrobe Mirror Lets You To Try On Clothes At The Flick Of
6 Clueless Worthy Outfit Planning Apps E News
Cher Horowitz Coveteur
Healthy And Easy Recipes To Bring To A 4th Of July Picnic
Rotating Clueless Closet
Https Encrypted Tbn0 Gstatic Com Images Q Tbn 3aand9gcsfm 5 Wyvo2rmlfy8ldujbrdmy9tkxnzo46rrlzqesq1u8pln0
6 Apps Inspired By Cher S Closet From Clueless That Are As Close
Clueless Comes Of Age
New App Brings Infamous Clueless Closet To Life
How Artificial Intelligence Is Coming For Your Closet Glamour
The Clueless Closet Is Real And You Can Own It
10 Most Luxurious Closets In Films And Series Designer Vintage
Makers On Twitter Its Demo Day Team Clueless Take The Stage
Clueless Ipad Iphone Android Mac Pc Game Big Fish
Cher S Virtual Clueless Wardrobe Is Now A Reality 20 Years Later
Https Encrypted Tbn0 Gstatic Com Images Q Tbn 3aand9gct5btkptvfqhc0tojft7 Gqtdn4kzwg4vezxy Jmkuddsndccth
Fashionchalet Loves Stylespotter Accessories Magazine
How To Turn Your Wardrobe Into The Iconic Clueless Closet Observer
Cher Horowitz S Closet From Clueless Gets A Modern Day Makeover
Amazon Com Clueless Video Games
Organise Your Wardrobe Online With These Wardrobe Manager Apps And
The Best Apps To Help You Organize Your Closet Stylecaster
The Clueless Closet Is Real And You Can Own It
Cher S Computer Closet From Clueless Is Now Real Clueless
Clueless Cher Computer Wardrobe Created British Vogue
Https Encrypted Tbn0 Gstatic Com Images Q Tbn 3aand9gcsxbl Vwhhjzf1r 5oa11muec2 Aiunyg6koceop0mkdofdpfkr
Stylebook Closet App Everyday Uses
Cher Horowitz S Closet From Clueless Gets A Modern Day Makeover